Einführung in die Automatentheorie/Weiter
Automat
Wie du siehst (oder hoffentlich noch weißt), setzt sich das Wort "Informatik" aus den Begriffen "Information" und "Automatik" zusammen.
Somit ist ein Automat ein zentraler Begriff der Informatik, denn ein Automat ist eine Maschine, die vorbestimmte Abläufe automatisch (selbsttätig) ausführt.
Multiple-Choice-Test zum Begriff "Automat"
- Welcher dieser Begriffe ist ein Automat?
(Kaffeemaschine) (Fahrkartenautomat) (Walkman) (Fernseher) (Drucker) (Handy) (Staubsauger)
Automaten im Alltag
Wir schauen uns zunächst ein Beispiel anhand eines "reduzierten" Parkscheinautomaten an:
Peter fährt mit dem Auto in die Stadt, um zum Friseur zu gehen. Er parkt direkt vor dem Friseurladen, 
wo er auch Parkgebühren zahlen muss. 
Der Automat funktioniert wie folgt:
- Er akzeptiert nur Münzen von 10 Cent bis 1 Euro (10 Minuten kosten 10 Cent).
- Er gibt kein Wechselgeld zurück.
- Nach jedem Münzeinwurf wird die Parkzeit angezeigt.
- Durch Drücken einer Taste wird der Parkzettel ausgegeben.
Der Automat kann sich somit in 3 verschiedenen Situationen befinden:
- Er ist im Startzustand, d. h. es hat noch niemand Geld eingeworfen.
- Es wirft jemand Geld ein, drückt die Taste für das Ticket aber nicht.
- Die Tickettaste wird betätigt, damit der Parkschein gedruckt werden kann.
Peter überlegt nun, wie lange er wohl weg sein wird. Mit Wartezeit kalkuliert er ca. 
50 Minuten, so dass er für eine Stunde bezahlen will. Er kramt in seinem Geldbeutel und 
wirft zuerst 20 Cent ein. Schwupps und die Parkuhr zeigt eine Parkdauer von 20 Minuten an. 
Nun wirft Peter der Reihe nach noch 10, 10 und 20 Cent in den Automaten. Anschließend 
drückt er die Tickettaste, das Parkticket wird gedruckt und ausgegeben. Der Parkscheinautomat 
zeigt nun wieder eine Parkdauer von 0 Minuten an.
- Überlege dir,wie man den Ablauf graphisch darstellen könnte.
- Versuche eine Skizze anzufertigen.
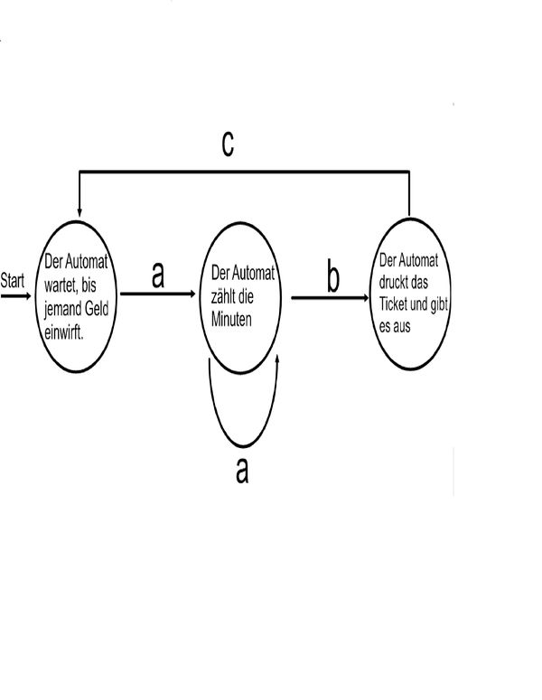
Hier eine mögliche Lösung:

Die Kreise im Bild werden als Zustände bezeichnet. Die Zustände sind sozusagen das Gedächtnis eines Automaten, 
denn nur so kann sich der Automat auch merken, wie viel Geld jemand eingeworfen hat.
Die Pfeile bezeichnet man indes als Übergänge von einem Zustand in den anderen. 
Wir bezeichnen nun a als Geldeinwurf (in unserem Beispiel 10 Cent - 1 Euro), b als den Ticketschalter, der gedrückt werden muss, damit der Parkschein ausgegeben wird und c als die Entnahme des Parkscheines.
- Versuche einen allgemeineren Parkscheinautomaten zu erstellen, der als Übergänge nur a, b und c akzeptiert, also die Situation unabhängig von den Parkminuten darstellt. Der Automat soll sich am Schluss wieder in seinem Augangszustand (also Startzustand) befinden.
- Orientiere dich an obiger Skizze.
Du benötigst 4 Übergänge und 3 Zustände.
In dieser Aufgabe soll ein Kaugummiautomat mit Hilfe einer Skizze beschrieben werden. Der Kaugummiautomat funktioniert wie folgt:
Man schmeißt 10 Cent ein und dreht an dem Rad. Dann fällt der Kaugummi in den Auffangbehälter und kann entnommen werden. Folgende Skizze soll die Funktionsweise des Kaugummiautomaten beschreiben.
 
Finde die passenden Zuordnungen.
| Drehknopf wird freigegeben | B | 
| Der Drehknopf wird gedreht | 2 | 
| Automat wartet auf Geldeinwurf | A | 
| Automat gibt Kaugummi aus | C | 
| Kaugummi wird entnommen | 3 | 
| 10 Cent werden eingeworfen | 1 | 


